سنقدم الأداء وأساليب التشغيل الآمنة والمعايير التقنية لمفاتيح الجهد المتوسط KYN28-12

استخدام الظروف البيئية
-درجة حرارة الهواء المحيط: الحد الأعلى 40 درجة مئوية الحد الأدنى-10 درجة مئوية في المناطق العامة:
أعلى الارتفاع: 1000 متر ؛
رطوبت اتش:
الرطوبة النسبية: لا يزيد المتوسط اليومي عن نسبة 9 ٪ ، ولا يزيد المتوسط الشهري عن نسبة 9 ٪ ؛
ضغط بخار الماء: المتوسط اليومي لا يزيد عن 2.2 كيلو باسكال ، ولا يزيد المتوسط الشهري عن 1.8 كيلو باسكال
قد يحدث التكثيف عندما تنخفض درجة الحرارة ، مصحوبًا بالتراب ، وهذا المنتج مناسب لشرطين بيئيين أكثر قسوة من الظروف العادية التالية:
(1). التكثيف النادر (لا يزيد عن مرتين في الشهر في المتوسط) مع الأوساخ الخفيفة ؛
(2). عموما لا يوجد تكثيف (لا يزيد عن مرتين في السنة في المتوسط) مع تلوث خطير ؛
◆ لا توجد حرائق ومخاطر انفجارات وتلوث خطير بما يكفي لتآكل المعدن وتلف العزل والأماكن القاسية الأخرى ؛
لا توجد اهتزازات عنيفة أو مطبات أو ميل رأسي لا يزيد عن 80 ؛
ملاحظة: (1) يسمح بالتخزين والنقل عند-30 درجة مئوية ؛
(2) عندما يتجاوز الارتفاع 1000 متر ، يجب مناولته وفقًا لـ JB/2102 "المتطلبات التقنية لمناطق الارتفاع لاستخدام الأجهزة الكهربائية عالية الجهد" ؛ عندما لا يتجاوز الارتفاع 2000 متر ، لا تحتاج المعدات المساعدة ذات الضغط المنخفض إلى اتخاذ أي تدابير ؛
(3) عندما تكون شروط الاستخدام الفعلية مختلفة عن ما سبق ، يجب التفاوض عليها بين المستخدم والشركة المصنعة.
النموذج والمعنى
ك ص ن 28 - 12/□ - □
وقيم منكسر تيار الدائرة القصيرة (كا)
وقيم منالحالي (أ)
وقيم من الجهد (كيلو فولت).
└─الرقم التسلسلي للتصميم
└─داخلي
└─نقل النوع
مثل المعادن درع
رسم تخطيطي لهيكل المفاتيح الكهربائية
الشكل 1

أ. حجرة قاطع الدائرة ب. مقصورة بسبار
ج. كابل غرفة د. غرفة أجهزة التتابع
1. بسبار 2. قرص اتصال ثابت 3. قاطع الدائرة
4. مفتاح التأريض 5. محول التيار
6. مقسم الجهد بالسعة 7. مانع الصواعق
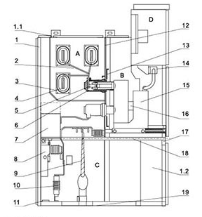
Fig.2 رسم تخطيطي لهيكل المفاتيح الكهربائية

1. إسكان 2. فرع بسبار صغير 3. كم بسبار 4. بسبار رئيسي
5. جهاز الاتصال الثابت 6. صندوق الاتصال الثابت 7. محول التيار
8. مفتاح التأريض 9. كابل 10. مانع التصاعد 11. الحافلة الرئيسية التأريض
12. قسم 13 قابل للفصل والتحميل. التقسيم (رفرف) 14. سدادة ثانوية
15. قاطع الدائرة عربة 16. جهاز سخان 17. قسم أفقي قابل للاستخراج
18. آلية تشغيل مفتاح التأريض 19. لوح القاعدة
أ.غرفة بسبار ب. قاطع الدائرة عربة غرفة ج. كابل غرفة د. غرفة أجهزة التتابع
1.1. جهاز تخفيف الضغط 1.2. السيطرة الكابلات الصغيرة
تلبية المعايير
المنتج يلبي المعايير التالية:
1. ، ،
2. الكيفي
3. ،. جيجابايت/مكعب
مخطط الأسلاك الرئيسي
| رقم المخطط | 001 | 002 | 003 | 004 | 005 | |
مخطط الطريق الرئيسي |
| |||||
| التصنيف الحالي (أ). | 630-4000 | |||||
واحد مرات المضيف تريد الكهرباء أواني يوان الصنف | قاطع دارة فراغية | 1 | 1 | 1 | 1 | 1 |
| محول التيار طقم | 2 | 2 | 2 | 3 | 3 | |
| محول الجهد RZL/REL | ||||||
| قاطع ضغط عالي (XRNP □) | ||||||
| مفتاح التأريض (EK6/، من) | 1 | 1 | 1 | |||
| صواعق الطفرة/45 | 3 | |||||
| الاستخدام | استقبال الطاقة وقوة التغذية | استقبال الطاقة وقوة التغذية | استقبال الطاقة وقوة التغذية | استقبال الطاقة وقوة التغذية | استقبال الطاقة وقوة التغذية | |
| رقم المخطط | 006 | 007 | 008 | 009 | 010 | |
مخطط الطريق الرئيسي |
| |||||
| التصنيف الحالي (أ). | 630-4000 | |||||
واحد مرات المضيف تريد الكهرباء أواني يوان الصنف | قاطع دارة فراغية | 1 | 1 | 1 | 1 | 1 |
| محول التيار طقم | 3 | 2 | 2 | 2 | 2 | |
| محول الجهد RZL/REL | ||||||
| قاطع الضغط العالي (XRNP □) | ||||||
| مفتاح التأريض (EK6/، من) | 1 | 1 | 1 | |||
| صواعق الطفرة/45 | 3 | |||||
| الاستخدام | تغذية | الاتصال (اليمين) | الاتصال (اليمين) | جهة اتصال (يسار) | جهة اتصال (يسار) | |
| رقم المخطط | 011 | 012 | 013 | 014 | 015 | |
مخطط الطريق الرئيسي |
| |||||
| التصنيف الحالي (أ). | 630-4000 | |||||
واحد مرات المضيف تريد الكهرباء أواني يوان الصنف | قاطع دارة فراغية | 1 | 1 | 1 | 1 | 1 |
| محول التيار طقم | 3 | 3 | 2 | 2 | 2 | |
| محول الجهد RZL/REL | ||||||
| قاطع ضغط عالي (XRNP □) | ||||||
| مفتاح التأريض (EK6/، من) | 1 | 1 | 1 | |||
| صواعق الطفرة/45 | 3 | |||||
| الاستخدام | الخط العلوي (الاتصال الأيمن) | الخط العلوي (الاتصال الأيمن) | خطوط الدخول والخروج العلوية | خطوط الدخول والخروج العلوية | خطوط الدخول والخروج العلوية | |
| رقم المخطط | 016 | 017 | 018 | 019 | 020 | |
مخطط الطريق الرئيسي |
| |||||
| التصنيف الحالي (أ). | 630-4000 | |||||
واحد مرات المضيف تريد الكهرباء أواني يوان الصنف | قاطع دارة فراغية | |||||
| محول التيار طقم | ||||||
| محول الجهد RZL/REL | /3 | 2/ | /3 | 2/ | /2 | |
| قاطع ضغط عالي (XRNP □) | 3 | 3 | 3 | 3 | 3 | |
| مفتاح التأريض (EK6/، من) | ||||||
| صواعق الطفرة/45 | 3 | 3 | 3 | |||
| الاستخدام | قياس الجهد طفرة صواعق | قياس الجهد طفرة صواعق | قياس الجهد طفرة صواعق | قياس الجهد (الرابط الأيسر) | قياس الجهد (الرابط الأيمن) | |
| رقم المخطط | 021 | 022 | 023 | 024 | 025 | |
مخطط الطريق الرئيسي |
| |||||
| التصنيف الحالي (أ). | 630-4000 | |||||
واحد مرات المضيف تريد الكهرباء أواني يوان الصنف | قاطع دارة فراغية | |||||
| محول التيار طقم | 2 | 2 | 3 | 3 | 2 | |
| محول الجهد RZL/REL | 2/ | 2/ | 2/ | 2/ | /3 | |
| قاطع ضغط عالي (XRNP □) | 3 | 3 | 3 | 3 | 3 | |
| مفتاح التأريض (EK6/، من) | ||||||
| صواعق الطفرة/45 | ||||||
| الاستخدام | قياس اقتران الصحيح | قياس زوجين اليسار | قياس زوجين اليسار | قياس اقتران الصحيح | قياس زوجين اليسار | |
| رقم المخطط | 026 | 027 | 028 | 029 | 030 | |
مخطط الطريق الرئيسي |
| |||||
| التصنيف الحالي (أ). | 630-4000 | |||||
واحد مرات المضيف تريد الكهرباء أواني يوان الصنف | قاطع دارة فراغية | 1 | ||||
| محول التيار طقم | 3 | مكثف Bm12.7-16-1 3 | ||||
| محول الجهد RZL/REL | /3 | محول 1 | /4 | /4 | ||
| قاطع ضغط عالي (XRNP □) | 3 | 3 | (XRNT)3 | 3 | 3 | |
| مفتاح التأريض (EK6/، من) | 1 | 1 | 1 | |||
| صواعق الطفرة/45 | 3 | 3 | 3 | |||
| الاستخدام | قياس وارد | خزانة المحولات المستخدمة (يتم تحديد عرض الخزانة وفقًا لحجم الحجم المتغير المستخدم) | خزانات مكثف | قياس الجهد طفرة صواعق | قياس الجهد طفرة صواعق | |

◆عربة يد الهيكل العظمي لعربة اليد مصنوع من ألواح فولاذية رقيقة تتم معالجتها بواسطة أدوات آلة التصنيع باستخدام الحاسب الآلي ثم يتم ثقبها ولحامها. وفقًا للتطبيق ، يمكن تقسيم عربة اليد إلى عربة يد قاطع الدائرة ، عربة يد محول الجهد ، عربة يد عزل ، عربة يد قياس ، وعربات يد أخرى بنفس المواصفات ، وهي ملائمة للتبادل. تحتوي عربة اليد على وضع عزل وموضع اختبار وموضع عمل في الخزانة ، وتم تجهيز كل موضع بجهاز تحديد المواقع لضمان عدم إمكانية تحريك عربة اليد بشكل عرضي عندما تكون في الموضع أعلاه ، ويجب تحرير التعشيق عند نقل عربة اليد. |
|
◆بي بسبار يؤدي الناقل من خزانة مفاتيح إلى أخرى عن طريق حافلة فرعية وعلبة اتصال ثابتة. يتم ربط الناقل الفرعي المسطح بدرج الاتصال الثابت والحافلة الرئيسية ، دون الحاجة إلى أي المشابك الإضافية أو التوصيلات الفرعية. عندما يكون لدى المستخدم والمشروع احتياجات خاصة ، يمكن تغليف مسامير التوصيل الموجودة على شريط القضبان بعزل وأغطية نهاية. عندما يعبر البازبار قسم المفاتيح ، يتم تثبيته بغطاء بسبار. إذا كان هناك قوس خطأ داخلي ، فإنه يمكن أن يحد من انتشار الحادث إلى الخزانة المجاورة ويضمن القوة الميكانيكية للقضيب. |
|
◆غرفة كابل ج يمكن تثبيت المحولات الحالية ومفاتيح التأريض وموانع الصواعق والكابلات في غرفة الكبل ، ويتم إعداد صفائح الألومنيوم القابلة للإزالة مع الشقوق في الجزء السفلي من غرفة الكبل لضمان راحة البناء في الموقع. |
|
◆د غرفة أجهزة التتابع تُستخدم غرفة أجهزة التتابع لتثبيت العديد من المرحلات والأدوات ومؤشرات الإشارة ومفاتيح التشغيل والمكونات الأخرى. بالإضافة إلى ذلك ، يمكن إضافة غرفة بسبار صغيرة إلى الجزء العلوي من غرفة الأدوات وفقًا لمتطلبات المستخدم ، ويمكن وضع حافلة تحكم في ستة عشر اتجاهًا. |
|
◆هيكل القفل يعتمد الاتصال بين الباب الأوسط والخزانة على هيكل القفل ، وهو مجهز بآلية رفع لجعل الباب الأوسط أكثر ملاءمة للفتح ، وعندما يتم إغلاق الباب الأوسط ، تكون قوة الاتصال بينه وبين الخزانة أفضل ، مما يعزز القدرة على مقاومة فعالة لخطأ الاحتراق الداخلي بالقوس. |
|
◆د غرفة أداة التتابع باب غرفة الأدوات مغلق ، وغرفة الأدوات في منظر أمامي. | ◆جهاز تخفيف الضغط عندما يكون قاطع الدائرة أو شريط التوصيل الرئيسي ، تحتوي غرفة الكبل على قوس خطأ داخلي ، مع ظهور الكهرباء ، يرتفع ضغط الهواء داخل مفتاح التبديل ، وبعد الوصول إلى ضغط معين ، سيتم فتح اللوحة المعدنية لإطلاق الضغط في الجهاز العلوي تلقائيًا لتحرير الضغط وتفريغ الغاز لضمان سلامة المشغل والمفاتيح الكهربائية. |
