سنقدم الأداء وطرق التشغيل الآمنة والمعايير التقنية للمحولات: S9 \ S11 \ S13 المحولات المملوءة بالسائل

هذا الدليل قابل للتطبيق على محولات الطاقة المغمورة بالزيت المغلقة بالكامل التي تنتجها شركتنا ، بسعة مصنفة 3150KVA وأقل ، ومستوى جهد 35kv وأدناه.
1. الاستخدامات والخصائص
بالإضافة إلى كونها مناسبة لمحولات الطاقة العامة ، فإن المحولات المغمورة بالكامل بالنفط مناسبة بشكل خاص للبتروكيماويات والمعادن والمنسوجات والصناعات الخفيفة والمؤسسات والمناجم والمناطق الريفية ذات الرطوبة العالية والصيانة غير المريحة.
هذا المنتج يلغي جهاز حماية الزيت مثل خزانة تخزين الزيت وامتصاص الرطوبة لضمان عدم ملامسة زيت المحول للهواء ، جميع الأختام مختومة بمطاط خاص ممتاز ، باستخدام حقن الزيت الفراغي ، في الظروف العادية ، يمكن استخدام المحول بشكل مستمر لمدة 20 عامًا دون أي علاج ، وتكلفة الصيانة المنخفضة هي الميزة الرئيسية لهذا المنتج ، ويتم تحسين موثوقية التشغيل ، ويتم تمديد عمر الخدمة.
2. وصف النموذج
S□-م-□ □
ق-ثلاث مراحل
□-رمز مستوى الأداء (11 ، 13 ، 20)
م-مختومة
□-القدرة المقدرة (كيلو فولت أمبير)
□-مستوى الجهد العالي (10 كيلو فولت)
3. النقل
1. أثناء النقل والتركيب ، عند رفع المحول ، يجب استخدام الرافعات الأربعة الموجودة في خزان الوقود في نفس الوقت لتحمل الوزن الكلي للمحول بعد ملء التجميع النهائي للمحول بكمية زيت المحول. إذا تعذر تلبية هذا الشرط ، يجب استخدام محول رفع شعاع خاص.
2. جميع أجزاء الربط لهذا المنتج كلها مكسرات لتخفيف المكسرات لضمان الربط الموثوق. ومع ذلك ، أثناء النقل ، لا يزال من الضروري التأكد من أن المحول يتمتع باستقرار كافٍ ، ويجب ألا يزيد ميل المحول عن 15 درجة. عند الرفع ، يجب رفعه وإفراجه بلطف ، وفي حالة عدم وجود معدات رفع ، يجب أن تتحرك الأرض ببطء لمنع الاهتزاز العنيف.
4. القبول والتخزين
1. بعد استلام المحول ، يجب على المستخدم التحقق فورًا من طراز المنتج ومواصفاته المستلمة وفقًا للوحة الاسم ، وما إذا كانت المواصفات متوافقة مع عقد الطلب ، ثم التحقق بعناية مما إذا كان هناك تلف في كل جزء من المحول ، وما إذا كانت الأجزاء الضعيفة ، مثل مقاييس الحرارة للإشارة ، والأكياس ، وما إلى ذلك ، معطوب ، وما إذا كان خرطوم إشارة الحرارة بالارض والكسر. يجب إيلاء اهتمام خاص لسلامة غلاف البورسلين ، والذي يتم الحكم عليه وفقًا لما إذا كان هناك تسرب نفطي في الغلاف ، والتحقق مما إذا كان هناك تسرب للزيت أو تسرب للزيت في كل جزء مانع للتسرب من المحول.
2. إذا لم يتم تثبيت المحول وتشغيله على الفور ويحتاج إلى تخزينه لفترة طويلة ، يجب إغلاق جميع الأختام ، ويجب تخزين قطع الغيار بشكل صحيح ، ويجب فحص حالة التخزين بانتظام.
5. تركيب وصيانة المحولات
1. تركيب المحولات
1.1 يستخدم المستخدم رافعة شوكية أو أدوات مناولة أخرى لنقل المحول بسلاسة إلى موضع التثبيت المحدد.
1.2 احرص على عدم إتلاف الغلاف والأجزاء الأخرى أثناء التثبيت ، ولا تخدش خزان الوقود أو تخدش طبقة الطلاء.
2. معايير الفحص والحكم قبل تشغيل المحول
2.1 بعد نقل محول الطاقة المغمور بالكامل بالنفط إلى المستخدم ، ليست هناك حاجة لفحص القلب.
2.2 يجب اختبار المحول وفقًا لـ "معيار الاختبار لتسليم المعدات الكهربائية في هندسة التركيبات الكهربائية".
2.2.1 قم بقياس مقاومة التيار المستمر لللف والأكمام ، ويجب ألا تزيد القيمة عن 2 ٪ مقارنة بالقيمة المقاسة للمصنع في نفس درجة الحرارة.
2.2.2 تحقق من تغييرات جميع الصنابير ويجب ألا يكون هناك فرق كبير مقارنة ببيانات المصنع.
2.2.3 تحقق مما إذا كان تعيين مجموعة الاقتران للمحول متسقًا مع علامة اللوحة.
2.2.4 يجب أن تكون قيمة مقاومة العزل قريبة من قيمة المصنع في نفس درجة الحرارة ، ويجب ألا تقل عن القيمة الواردة في الجدول 1.
الجدول 1 قيمة مقاومة العزل (MΩ)
درجة الحرارة
| 20 | 30 | 40 | 50 | 60 |
<6 | 400 | 200 | 100 | 50 | 25 |
6 أو أكثر ولكن أقل من 20 | 800 | 400 | 200 | 100 | 50 |
20 أو أكثر من 60 | 1000 | 500 | 250 | 125 | 65 |
الوصف: 1. يتم وضع الملف تحت الاختبار أثناء القياس. 2. استخدم مقياس ميجاوم 2500 فولت أو مقياس خاص.
2.2.5 تردد البناء الخارجي يتحمل جهد اختبار الجهد لللف والغلاف موضح في الجدول 2.
الجدول 2 المعايير التجريبية للعزل تردد الطاقة تحمل الجهد المعدات الكهربائية عالية الجهد
الجهد المقنن (KV). | 3 | 6 | 10 | 15 | 20 | 35 |
القيمة التجريبية للمصنع | 18 | 25 | 35 | 45 | 55 | 85 |
تسليم القيم التجريبية | 15 | 21 | 30 | 38 | 47 | 72 |
2-2-6 يتم فحص عناصر الاختبار التقليدية لزيت المحولات وفقا لمتطلبات النفط الجديد (قبل تشغيله) ، انظر الجدول 3.
الجدول 3 العناصر التجريبية ومعايير زيت المحولات قبل وضعها موضع التنفيذ
الرقم التسلسلي | الأصناف | زيت جديد في الخزان قبل وضعه موضع التنفيذ |
1 | المظهر | شفافة وخالية من الشوائب |
2 | نقطة وميض ج (مغلقة) | 140 |
3 | الرطوبة ملغ/1 (جزء). | ≤20 |
4 | قيمة الحمض ملغKOH/g | <0.03 |
5 | انهيار الجهد KV (2.5مم) الفجوة النفطية | 35KV وأدناه: ≥ 35 |
6 | يتم فقدان المتوسط بشكل سطني بنسبة 8 ٪ (90 درجة مئوية). | ≤0.7 |
7 | التوتر بين الوجه MN/م (25 درجة مئوية). | ≥35 |
8 | حمض يذوب في الماء (درجة الحموضة). | ≥5.4 |
2.2.7 طريقة جمع عينات الزيت
(1) فرك وتجفيف كوب اختبار الزجاج بقطر حوالي 80-100 وبرميل المحاقن حوالي 100.
(2) فك غطاء صمام عينة الزيت في الجزء السفلي من خزان الوقود.
(3) مسح منفذ صمام عينة الزيت والمناطق المجاورة نظيفة مع ورقة نظيفة أو القماش.
(4) محاذاة كوب اختبار الزجاج مع منفذ الصمام.
(5) استخدم مفتاح ربط لفك برغي صمام عينة الزيت ببطء للسماح بتدفق الزيت إلى الكأس ، وفي الوقت نفسه ضع إبرة المحاقن في مخرج الزيت لصمام عينة الزيت لرسم عينة الزيت.
(6) يتم تحديد كمية عينة الزيت من قبل المستخدم وفقًا لاحتياجات المشروع التجريبي.
(7) عندما يتم جمع عينة الزيت ، شد صمام عينة الزيت وغطاء الصمام.
(8) افتح غطاء أنبوب حقن الزيت في الجزء العلوي من غطاء صندوق المحول ، وصب زيت المحول ببطء من نفس الطراز ، ونفس الوزن ، واجتاز الاختبار في أنبوب حقن الزيت ، وشد غطاء أنبوب حقن الزيت ، ويتم الانتهاء من عينة الزيت وعملية تجديد الزيت.
3. صيانة المحولات
٣-١ معايير الصيانة والفحص للمحوﻻت المغمورة بالزيت محكمة الغلق بالكامل هي كما يلي في الجدول ٤ والجدول ٥.
الجدول 4 معايير التفتيش العادية
الرقم التسلسلي | منتجات الفحص | مستلزمات الفحص | دورة | معايير الحكم | ملاحظة |
1 | مقاومة العزل | الاستخداممقياس هزاز 2500 فولت أوأأداة قياس لها نفس التأثير قياس المرحلة على الأرض | غير منتظم | جانب 35KV: 270MΩالجانب 10KV: 200M Ω 1KV الجانب:50 مΩ | بعدجهد زائد خطيرأو حادث خطير، هذاتجربة يتم تنفيذه |
2 | زيت عازل | تحليل كروماتوغرافي | 6 سنوات | GB7252-87 "مبادئ توجيهية لالتحليل و الحكم أو منحل الغاز في زيت المحولات" | بعدجهد زائد خطير أو حادث خطير، هذا التجربة لا تقتصر على الفترة |
3 | ترموستير | 1. فحص البقعة الداخلية (امتصاص الصدأ والرطوبة) 2. حالة قارورة 3. مؤشر درجة الحرارة ، مشيرا إلى العمل 4. تصنيف درجة الحرارة | سنتان | 1. لا الصدأ 2. لا ضرر 3. تشير إلى العمل العادي (اضغط برفق) 4.85 درجة مئوية | |
4 | مقياس مستوى الزيت | 1. التفتيش الخارجي 2. ما إذا كان سطح الزيت ممتلئ بالزيت | سنة واحدة | 1. لا الصدأ ، لابقع النفط علىزجاج 2. ما إذا كان خط سطح النفط يمكن رؤيته | لا يوجد مقياس مستوى الزيت لن يتم فحص هذا المنتج |
5 | غطاء | 1. حالة المحطة الطرفية 2. حالة الأكمام 3. هل تسرب الزيت ؟ | سنتان | 1. لا يوجد تخفيف أو تغيير اللون 2. لا يوجد أي ضرر أو تشويه 3. لا تسرب النفط أو تسرب الهواء | إذا كان هناك أي خلل ، ينبغي أن أن يتم التعامل معها في الوقت المحدد |
6 | سلك تأريض | حالة وعرة | سنتان | لا ترخي ، لا أسلاك مكسورة | |
7 | الضغطصمام إطلاق | 1. ما إذا كان الختم الزيتي 2. ما إذا كان اتصال سلك الرصاصهوشركة | سنتان | 1. لا تسرب النفط 2. إذا كان هناك أي خلل ، يجب التعامل معه في الوقت المناسب | إذا كان هناك تسرب التعامل معها في الوقت المناسب |
الجدول 5 معايير التفتيش اليومية
الرقم التسلسلي | منتجات الفحص | مستلزمات الفحص | دورة | معايير الحكم | ملاحظة |
1 | مظهر الجسم | لا يوجد أي أوساخ أو تشققات أو تسرب نفطي | جاناري | يجب ألا يكون هناك أي أوساخ ،الشقوق ، تسرب النفط ، الخ | إذا كان هناك أي خلل ، ينبغي أن أن يتم التعامل معها في الوقت المحدد |
2 | الصوت ورائحة من قبل الجسم | أصوات غير طبيعية ورائحة(السمع ، رائحة) | جاناري | 1. الأصوات والاهتزازات الناجمة عن الإثارة هيطبيعي 2. غير طبيعيالأصواتمثل تخفيف وتفريغ الجوز الربط من الجزء موصل 3. احتراق العزلسيكون لها رائحة خاصة | إذا كان هناك أي خلل, التحقيق في السبب والتعامل معه في في الوقت المناسب |
3 | درجة حرارة الجسم | ما إذا كان ارتفاع درجة الحرارة أمر طبيعي | جاناري | الحمل الحالييتحملها المحوليرتبط بارتفاع درجة حرارة الزيت سطح | إذا كان هناك أي خلل, التحقيق في السببوالتعامل معفي aفي الوقت المناسب |
4 | سطح زيت الجسم | ما إذا كان سطح الزيت طبيعي (طاولة سطح الزيت) | جاناري | يجب ملء الزيت بمقياس مستوى الزيت | إذا كان هناكلا مقياس مستوى النفط, لا يمكن إجراء فحص فوري |
5 | الحالي | إذا كان التيار يتجاوز القيمة المسموح بها و ما إذا كان التيار ثلاثي المراحل متوازنًا (مقياس) | جاناري | يكون تيار كل مرحلة متوازنًا تقريبًا ضمن النطاق المصنف | إذا كانعدم التوازن خطير، ينبغي تعديله في الوقت |
3.2 معالجة تسرب الزيت وطريقة تجديد الزيت
3.2.1 إذا تسرب الزيت عند الختم ، يمكن تشديد اللولب باستخدام مفتاح ربط ويمكن مسح بقع الزيت الجافة.
3.2.2 إذا كانت مادة الإغلاق تسبب تسرب الزيت ، فيجب استبدال الختم.
يجب التعامل مع تسرب الزيت 3.2.3 في اللحام في الوقت المناسب.
3.2.4 بعد معالجة تسرب الزيت ، طريقة تجديد الزيت هي نفس النقطة 8 من 2.2.7.
3.2.4.1 كمية تجديد الزيت: في الظروف العادية ، تكون كمية الزيت المتسرب من الخزان صغيرة ، وبالتالي فإن كمية تجديد الزيت تخضع لملء الزيت على غطاء الخزان ، ويمكن تجاهل درجة حرارة الزيت ودرجة الحرارة المحيطة في ذلك الوقت.
3.3 الغرض من حقن الزيت الفراغي للمحولات المغلقة بالكامل هو القضاء على الغاز في الملف قدر الإمكان في ظروف الفراغ ، بحيث يمكن لزيت المحول ملء الفجوات داخل الملف والمواد العازلة ، وتحسين أداء العزل وعمر خدمة المحول. لأن كمية تجديد الزيت بسبب تسرب الزيت صغيرة جدًا ، فهي لا تؤثر على القوة المطلقة للملف
أداء الحواف (تنص الجهة المصنعة في عملية حقن الزيت بالتفريغ: في حالة حقن الزيت بالتفريغ ، يتم حقن الزيت إلى حوالي 100 ~ بعيدا عن غطاء الصندوق ، ثم يتم إيقاف حقن الزيت ، ولكن يستمر الفراغ لمدة ساعة واحدة ، ثم يتم حقن الزيت من أنبوب حقن الزيت من غطاء الصندوق لجعل مستوى الزيت يرتفع إلى الجزء العلوي من أنبوب حقن الزيت).
6. وضع التشغيل المسموح به
1. تصنيف وضع التشغيل
1.1 يجب تزويد المحول بمرحل حماية درجة الحرارة ، والذي يمكن تشغيله وفقًا لمواصفات اللوحة في ظل ظروف التبريد المحددة.
1.2 يتم فحص درجة الحرارة المسموح بها أثناء تشغيل المحول وفقًا لارتفاع درجة حرارة الزيت العلوية ، والقيمة المسموح بها لارتفاع درجة حرارة الزيت العلوية هي 55 درجة مئوية ، ولكن يجب ألا تتجاوز درجة الحرارة القصوى 95 درجة مئوية. لتجنب الشيخوخة السريعة لزيت المحولات ، يجب ألا تتجاوز درجة حرارة الزيت العلوية 85 درجة مئوية.
1.3 يمكن أن يكون الجهد الكهربائي المستخدم لمحولات رفع الخطوات والمحولات المتدرجة أعلى من القيمة المقدرة ، ولكن بشكل عام لا يزيد عن 5 ٪ من القيمة المقدرة ، بغض النظر عن مكان صنبور الجهد ، إذا تم تطبيق الجهد الأساسي ، فإنه لا يتجاوز 5 ٪ من قيمة الجهد المقابلة له ، ثم يمكن أن يكون للجانب الثانوي للمحول تيار مقنن.
2. المسموح به الزائد
2.1 محول يمكن أن تعمل تحت الزائد العادي والحوادث الزائد. يمكن استخدام الحمل الزائد العادي بانتظام ، ويتم تحديد قيمته المسموح بها وفقًا لمنحنى تحميل المحول ، ومركز درجة حرارة وسط التبريد ، وحمل المحول قبل التحميل الزائد. يُسمح فقط باستخدام الحمل الزائد للحوادث في حالات الحوادث. على سبيل المثال ، إذا كان أحد المحولات المتعددة قيد التشغيل تالفًا ولم يكن هناك محول احتياطي ، فيسمح لبقية المحولات بالعمل وفقًا للحمل الزائد.
2.2 يجب تحديد القيمة المسموح بها للحوادث الزائدة للمحول في الجدول التالي:
| نسبة الحمل الزائد للحمل المقنن | 1.3 | 1.5 | 1.75 | 2.0 | 3.0 |
المدة المسموح بها للحمل الزائد (دقائق) | 120 | 45 | 20 | 10 | 1.5 |
3. تيار غير متوازن لتيار الدائرة القصيرة المسموح به.
3.1 يجب ألا يتجاوز تيار الدائرة القصيرة للمحول 25 ضعف التيار المقنن ، ويجب ألا يتجاوز وقت مرور تيار الدائرة القصيرة القيمة المحسوبة وفقًا للصيغة التالية:
T = 900/K ثانية ، حيث K عبارة عن مضاعفات تيار الدائرة القصيرة المستقر إلى التيار المقنن.
3.2 للمحولات التي تكون ملفاتها متصلة وفقًا لـ Y ، yn0 ، يجب ألا يتجاوز تيار خط الوسط عمومًا 25 ٪ من التيار المقنن للملف ذي الجهد المنخفض (باستثناء المتطلبات الخاصة من المستخدمين)
دليل تعليمات للمكونات العامة لمحولات الطاقة المغمورة بالزيت
1. نظرة عامة
دليل التعليمات هذا مناسب للمكونات العامة لمحولات الطاقة التي ينتجها المصنع ، بما في ذلك الأغطية ، ومغير الصنبور ، وصمامات تحرير الضغط ، ولوحات عينات الزيت ، ومقاعد الحرارة ، والمسامير الأرضية ، وصمامات تصريف الزيت. المكونات القياسية الأخرى مصحوبة بأدلة التعليمات.
2. استخدام وصيانة
(1) دليل التعليمات لبطانات المحولات 35 كيلو فولت وأدناه

الشكل 1

الشكل 2الشكل 3
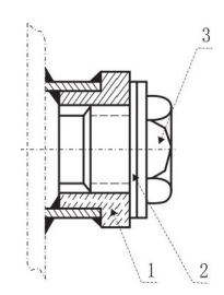
1. الشكل 1 عبارة عن غلاف مركب ، يستخدم لجهد 1000 فولت وأقل ، التيار 300-3000 أمبير. الشكل 2 عبارة عن غلاف من نوع الكابل ، يستخدم لجهد 10 آلاف فولت ، التيار هو 50-300A. يوضح الشكل 3 كم ملولب بجهد 35 كيلو فولت وتيار 35-600 أ.
2. عندما يغادر المحول المصنع ، يتم تجميع الغلاف على خزان زيت المحول وإرساله إلى المستخدم مع المحول.
3. إذا كنت بحاجة إلى تفكيك أو استبدال نوع البورسلين ، فيجب تنفيذه بالطريقة التالية.
(1) غلاف مركب ، أولا رفع الجسم رفع ، ثم إزالة الرصاص من الجزء السفلي من الغلاف ، وأخيرا فك جميع المكسرات الربط ، وإزالة الغلاف واستبدال الغلاف البديل الذي تم تنظيفه وتجفيفه.
(2) لغلاف نوع الكابل ، عند استبدال الغلاف ، يمكن استبدال الغلاف خارجيًا ، ويجب فك الجوز المشترك عند استبداله ، ويجب سحب المفصل بسلك نحاسي أو حزام غزل لمنع الانزلاق في خزان الزيت ، ثم إزالته ، غطاء بورسلين ، ختم طوقا ولوحة الضغط ، الخ
4. عند تثبيت الغلاف على خزان وقود المحولات ، يجب ملاحظة الأمور التالية:
(1) للغلاف المركب ، من أجل تثبيت الجزء الخزفي بالكامل على غطاء صندوق المحول لمنع تسرب الزيت ، يجب تشديد الأجزاء العلوية والسفلية من الغلاف لربط جوز الجزء الخزفي.
(2) بالنسبة لغلاف نوع الكابل ، يجب تشديد صمولة برغي المكبس الذي يثبت الغلاف بالتساوي ، ثم يتم تثبيت قضيب التوصيل بعد تثبيت الغلاف بإحكام على خزان زيت المحول.
5. في الاستخدام الدائم ، يجب تنظيف الغلاف بشكل متكرر وفقًا لحالة الأوساخ لمنع تفريغ سطح غلاف البورسلين.
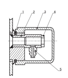
(2) لا الإثارة الصنبور المغير
محولات الطاقة المغمورة بالكامل بالنفط ثلاثية الطور التي تنتجها شركتنا مجهزة بشكل عام بمغير صنبور بدون تحميل من نوع WSP على غطاء الصندوق ، وذلك لتغيير مغير الصنبور الجانبي عالي الجهد عند عدم وجود كهرباء.
1. هيكل نموذجي من نوع WSPII1 غير الإثارة محايد نقطة الجهد المنظم الصنبور المغير هو مبين في الشكل 4.
2. لقيمة الجهد المشار إليها بواسطة المؤشر الرقمي لمبدل الصنبور في نطاق تنظيم الجهد ± 5 ٪: 1 يشير إلى موصل الصنبور مع 5 ٪ من قيمة الجهد المقنن ، 2 يشير إلى قيمة الجهد المقنن ، و 3 يشير إلى موصل الصنبور مع-5 ٪ من قيمة الجهد المقنن.
3. عند تغيير موضع مبدل الصنبور ، يجب فك المسمار الموجود على غطاء البند 4 وإزالته ، ويجب سحب جزء تحديد موضع المقبض من البند 3 من فتحة الأخدود ، ثم يتم تدوير العنصر 2 إلى موضع الصنبور المطلوب ، ويجب تضمين جزء تحديد موضع المقبض في فتحة الأخدود المقابلة وتغطيته بغطاء.
4. إذا كان مبدل الصنبور يعمل غالبًا في موضع واحد بسبب احتياجات المحول ، من أجل القضاء على طبقة الأكسيد وبقع الزيت في جزء التلامس وضمان اتصال جيد ، بغض النظر عما إذا كان المحول يحتاج إلى تغيير الجهد ، يجب تدوير مبدل الصنبور 10 مرات على الأقل في السنة. إذا لم تكن هناك حاجة لتغيير الجهد ، فسيظل ثابتًا في الوضع الأصلي بعد الدوران ، ويجب تغيير موضع الصنبور ويجب استخدام الجسر أو المقياس المتعدد لقياس المسار قبل تشغيله.
5. إذا وجد أن زيت المحول يتسرب من مبدل الصنبور ، اكتشف من أين يتسرب. إذا تسرب الزيت من غطاء خزان وقود المحول وشفة تبديل الصنبور ، يجب تشديد الجوز المسطح من البند 6 على الفور ، وإذا كان زيت تسرب العمود والشفة ، يجب تشديد جوز البند 5 ، ولكن لا ينبغي تشديدها بإحكام شديد لتجنب الزيادة المفرطة في عزم الدوران.

الشكل 4 WSPIII من النوع 1 مغير الصنبور
إذا كان هذا هو تنظيم الجهد المتوسط ، يتم استخدام مبدل الصنبور بدون إثارة WPS II.1 ، وطريقة تشغيله وصيانته هي في الأساس نفس الطريقة المذكورة أعلاه. بالنسبة إلى مغير الصنبور غير المثير ، يرجى الرجوع إلى دليل تغيير الصنبور المقابل للحصول على التفاصيل.
(3) صمام تحرير الضغط
1. استخدام المنتج والأداء مقدمة:
صمامات تحرير الضغط (المشار إليها فيما يلي باسم صمامات الإطلاق) مناسبة للمحولات المعزولة السائلة أو الغازية والمحولات ومغير الصنبور أثناء الحمل والمفاتيح ذات الجهد العالي والمكثفات وغيرها من المنتجات لحماية خزانات الوقود.
عندما يحدث حادث داخل المحول أو مبدل الصنبور أثناء الحمل ، يتم تغويز جزء من المحول ، مما يؤدي إلى زيادة الضغط داخل خزان المحول بسرعة. إذا لم تأخذ حماية موثوقة ، يمكن أن يتشوه الخزان أو حتى ينفجر. يحمي صمام الإطلاق خزان المحول من التلف. عندما يصل ضغط خزان الوقود إلى ضغط العمل لصمام الإطلاق ، سيتم فتح صمام الإطلاق في غضون 2 ميلي ثانية لتحرير الضغط الزائد في خزان الوقود في الوقت المناسب.
بمجرد فتح صمام الإطلاق ، ينخفض الضغط في خزان الوقود إلى حوالي 53-55 ٪ من ضغط التشغيل ، ويمكن إغلاق صمام الإطلاق بشكل موثوق. هذه الوظيفة الخاصة لصمام الإطلاق هي الحاجة الخاصة لكائن الحماية ، والذي يمكنه حماية خزان الوقود بشكل فعال من التلف. عندما يرتفع الضغط في الخزان مرة أخرى ويصل إلى ضغط التشغيل ، فإن صمام التحرير سوف يعمل مرة أخرى حتى ينخفض الضغط في الخزان إلى القيمة العادية. عندما يتم تشغيل المحول ، يجب إزالة الأمان الحادي عشر.
نظرًا لأن صمام الإطلاق يمكن إغلاقه بشكل موثوق بعد الحركة ، لا يمكن للهواء والماء خارج خزان الوقود دخول خزان الوقود ، ولن يتلوث زيت المحول بالغلاف الجوي.
2. النموذج ، المواصفات ، والمعايير الأساسية
نموذج 2.1
Sysf□-□ □ □
Sysf – كود صمام تخفيف الضغط
□ - الرقم التسلسلي للتصميم
□ – قم بتشغيل الضغط KPa
□ - العيار الفعال لحقن الزيت مم
□ - إشارة إنذار الظروف البيئية وجهاز قفل*
※: 1. تستخدم لعلامة الإشارة الميكانيكية "J".
2. للاستخدام في المناطق الاستوائية الرطبة ، تضاف "TH" بعد علامة "J".
3. إذا تم استخدام جهاز قفل ، ثم إضافة "ب" بعد ذلك.
على سبيل المثال: من/25JTHB
أي قطر حقن الزيت φ25مم ، ضغط الفتح 35KPa ، مع إشارة إنذار ميكانيكية ، يتم استخدامه لجهاز قفل المنطقة الرطبة والساخنة ، والتصميم السادس لصمام تحرير الضغط.
2.1 المواصفات والبارامترات الأساسية مبينة في الجدول 1
3. هيكل صمام تحرير الضغط الهيكلي موضح في الشكل 5.
الجدول 1 المواصفات والمعايير الأساسية
عيار فعال (مم) | قم بتشغيل الضغط (كيلو باسكال) | فتح الحد الضغط انحراف (KPa). | إيقاف الضغط (كيلو باسكال) | ضغط إحكام الغلق (كيلو باسكال) |
φ25 φ50 | 15 | ±5 | 8 | 9 |
25 | 13.5 | 15 | ||
35 | 19 | 21 | ||
55 | 29.5 | 33 |

Fig.5 رسم تخطيطي لهيكل صمام تحرير الضغط
4. استخدام
اختر جهاز صمام الإفراج مع جهاز الإغلاق ، ويجب إزالة دبوس الإغلاق قبل تشغيل الجهاز ، وإلا لا يمكن فتح الصمام.
بعد تشغيل صمام تحرير الضغط أثناء التشغيل ، يجب إعادة ضبط قضيب العلامة بعد العثور على الخطأ لإعادة استخدامه. لا يمكن إزالة صمام الإطلاق حسب الإرادة أثناء التثبيت.
يحتوي صمام تحرير الضغط على تسرب الزيت ، ويجب اتخاذ تدابير لحله في الوقت المناسب ، والأسباب الرئيسية لتسرب الزيت هي تقريبا كما يلي:
أ. لسبب ما ، يكون الضغط في خزان الوقود مرتفعًا جدًا ، والذي تجاوز ضغط الإغلاق لصمام الإطلاق ولكنه لم يصل بعد إلى ضغط الفتح ، مما تسبب في التسرب.
ب. بعض حلقات الختم في الصمام قد تم عمرها وفشلها ، ويجب استبدال حلقة مانع التسرب الفاشلة مع الشركة المصنعة في الوقت المناسب.
ج. إذا كان هناك جسم غريب على سطح الختم ، فيمكن إزالته في الوقت المناسب.
5. الصيانة والإصلاح
5.1 الاستفادة من فرصة كل صيانة انقطاع التيار الكهربائي للمعدات الكهربائية لتنفيذ الصيانة التالية للصمام.
أ. ما إذا كان الإجراء الافتتاحي حساسًا.
ب. ما إذا كان عمر حلقة الختم أو مشوهة أو تالفة. إذا تم العثور على أي تشوهات ، فيجب استبدالها في الوقت المناسب لتجنب تسرب الزيت أو حتى فشل صمام الإطلاق بسبب شيخوخة الحلقة المطاطية.
ج. مسح الجسم الغريب في الصمام.
د. ما إذا كانت الأجزاء صدئة أو مشوهة أو تالفة.
5.2 يجب على المستخدم إعداد عدة صمامات إطلاق في حالة الاستبدال أثناء الفحص.
(4) رفرف عينة النفط
يتم تثبيته بشكل عام في اتجاه جانب الضغط المنخفض للجزء السفلي من خزان الوقود لعينات الزيت. عند الاستخدام ، قم أولاً بفك الغطاء ، ضع خرطوم عينة الزيت على المفصل الناعم 1: ثم لف القابس ببطء حتى يمكن تحرير الزيت من الموصل ، وقم بفك الغطاء بعد الانتهاء.

الشكل 6
(5) مقعد الحرارة
لقياس ارتفاع درجة حرارة سطح الزيت للمحول. يتم توفير ميزان الحرارة الزئبقي للقياس بواسطة المستخدم. يظهر هيكل مقعد ميزان الحرارة في الشكل 7. مقبس استشعار درجة الحرارة مملوء بزيت المحول ، وعندما يتم قياس ارتفاع درجة حرارة سطح الزيت ، فقط افتح الغطاء وأدخل مقياس الحرارة الزئبقي. بعد القياس ، أخرج ميزان الحرارة وشد الغطاء مرة أخرى.

الشكل 7
(6) مسامير التأريض
يتم لحام مسمار التأريض إلى الجزء السفلي من جانب الجهد المنخفض للخزان من أجل التأريض الكلي للمحول. يظهر هيكلها في الشكل 8. في غسالة البند 2 ، يتم توصيل الاتصال المنزلي إلى شريط التأريض ، ويتم تشديد الترباس من البند 3 لضمان التشغيل الآمن للمحول. لسهولة تحديد الهوية ، هناك علامة التأريض.

الشكل 8
(7) رفرف النفط
يتم تثبيت صمام تصريف الزيت في اتجاه الجانب المنخفض الجهد لخزان الوقود لحوادث المحولات أو لتنظيف النفط واستنزافه.

الشكل 9

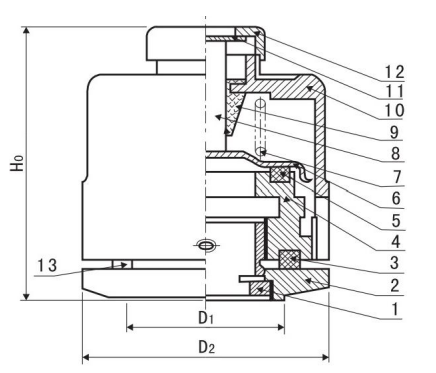
مكون محول طاقة مغمور بالزيت مغلق بالكامل
الرقم التسلسلي | رمز | الاسم | الكمية | ملاحظات |
11 | مغير الصنبور | 1 | ||
10 | جبل إشارة الحرارة | 1 | هناكأكثر من 1000KVA | |
9 | حامل ترموميتر الزئبق | 1 | ||
8 | مسمار أرضي | 1 | ||
7 | رفرف عينة النفط | 1 | ||
6 | خزانة المحولات | 1 | ||
5 | مرحلات الغاز | 1 | هناك أكثر من 800KVA | |
4 | غلاف منخفض الضغط | 4 | ||
3 | غلاف عالي الضغط | 3 | ||
2 | مقياس مستوى الزيت | 1 | ||
1 | صمام تخفيف الضغط | 1 |
--------------------------------------------------------------------------------------------------------------S9 \ S11 \ S13 المحولات المملوءة بالسائل
